日本是世界唯一允許黑道合法化的國家,2013年日本山口組的收入是800億美元,排名在日立HITACHI之後,是日本第8名賺錢的「企業」,以及全球最賺錢的黑道組織。靠著賭博情色以及催收帳款賺錢的山口組,總部座落在神戶的高檔住宅區(100公尺外就有警察局)
人民稱他們為「やくざ」,日本政府稱他們為指定暴力團,但是他們認為自己是存有武士精神的任俠,他們更喜歡稱自己為:極道。
| 極道 |
日本黑道起源於江戶時代,開設賭場的「博徒(bakuto)」以及擺設攤販的「的屋(tekiya」,因為他們不被主流社會接受,以及經手的利潤極大,逐漸集結起來成為階級森明的黑幫組織。
日本黑社會結構類似黑手黨,統領一個組織的人被稱為組長或是會長,相當於黑手黨的教父,以組長為最高點,透過「盃事」往下延伸出擬制の血縁関係,類似我們喝交杯酒做拜把兄弟的儀式。
![]() |
| 日本黑道的血緣關係圖 |
組長的弟弟被稱為「舍弟」,而統領組長弟弟們的頭頭就是「舍弟頭」,組長雖然有弟弟,但未來引退後繼承組織的是兒子,義長子被稱為「若頭」,其它兒子就是「若眾」。
舍弟是弟弟,所以要叫組長「兄貴」あにき
兒子們的若頭若眾要叫組長「親分」おやじ
舍弟是組長的弟弟,所以若眾要稱舍弟「叔父貴」おじき
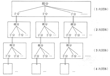
日本黑社會組織階級森嚴,絕對不能有以下犯上的行為。否則會有被逐出家門的「破門」或是「絕緣」的處罰。若頭或是舍弟都算是組織裡的直參成員,可以在組織下另立組織成為組長,譬如在人中之龍裡的模仿山口組的東城會,真島吾朗就是東城會直系嶋野組若頭 ,同時也是自己成立的真島組的組長。
![]() |
| 日本黑社會組織圖 |
日本是世上唯一允許黑幫合法存在的國家,警視廳每年都會發佈白皮書,列出日本黑幫的數量和具體成員人數,根據日本民調在是否「真正受到黑社會危害」的部分,超過90%的日本國民回答「沒有」。有玩過人中之龍的人就知道,神室町也就是新宿歌舞伎町裡,到處都是日本黑道,但是有人逛街時被黑道騷擾過嗎?
為什麼日本黑社會可以合法化,因為日本黑幫自律甚嚴,不會去打擾老百姓的生活。
![]() |
| 日本黑社會組織直接列冊管理,公佈人數 |
山口組在每年萬聖節都會向小朋友發放糖果,不過由於2014年山口組開始分裂,六代目山口組組長怕幫派火拼會波及到小朋友,還在門口貼出公告說:不好意思,今年無法發糖果了。
![]() |
| 山口組對小朋友發的道歉啟事 |
日本黑幫的任俠精神表現在1995的阪神大地震當時,五代目山口組長第一時間就發布所有組員趕到現場幫忙復興震災地,311東日本大震災時也即刻宣佈,底下所有組織的事務所免費讓災民暫時居住當避難所,不過我是不敢住在山口組的事務所啦。
我想每個男人心中多少對於黑社會有點崇拜,義氣是男人的一種愛。然而無論是台灣或是日本的黑社會,都不是你想進去就進去,你想出來就出來,要離開黑社會,代價是非常高的!記得歹路嘸通行啊!
![]() |
| 離開極道組織的低消:斷指。 |
立刻看影片複習!





沒有留言:
張貼留言